直流稳压电源组成包括(基本放大电路都存在零点漂移现象)
1、直流稳压电源组成包括
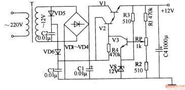
直流稳压电源组成包括:变压器、整流电路、滤波电路、稳压电路和输出电路。
变压器是直流稳压电源的重要组成部分,它通过变压比将交流电转换为所需的直流电压。变压器中的铁芯和线圈起到隔离和降低电压的作用,确保电源的安全和稳定性。
整流电路将交流电转换成直流电,并通过整流二极管将电流从正半周流向负半周。整流电路可以采用半波整流电路或全波整流电路,根据需要选择合适的整流方式。
滤波电路的主要作用是去除整流电路中的波动成分,使输出电压更加稳定。常见的滤波电路有电容滤波电路和电感滤波电路。电容滤波电路通过电容器对电流进行平滑,消除波纹成分;电感滤波电路则通过电感对电流进行滤波,提供稳定的直流输出。
稳压电路主要用于调节输出电压的稳定性。常见的稳压电路有线性稳压电路和开关稳压电路。线性稳压电路通过稳压管、稳压二极管等器件对输出电压进行调节;开关稳压电路通过开关管等器件实现高效的稳压控制。
输出电路将稳定的直流电提供给需要的设备。根据具体需求,输出电路可以设计成定电压输出或可调电压输出。
通过以上部分组合,直流稳压电源能够提供稳定、可靠的直流电源,广泛应用于电子设备、通信设备、工业控制等领域。正确理解和掌握直流稳压电源的组成和工作原理对于电源设计和维护非常重要。

2、基本放大电路都存在零点漂移现象
基本放大电路是电子设备中常见的一种电路配置,用于放大信号的幅值。然而,这种电路也存在一种现象称为零点漂移。
零点漂移是指放大电路输出信号在没有输入信号的情况下仍然存在一个不为零的输出值,这个不为零的输出值称为零点漂移。虽然在理论上,基本放大电路在无输入信号时应该输出零值,但由于电子元件的不完美性和环境因素的影响,导致了零点漂移的产生。
造成零点漂移的原因有很多。放大电路中的元件本身都具有一定的误差。例如,放大器的运算放大器的输入失调电压、偏置电流、温度系数等都会导致零点漂移的产生。环境温度的变化也会对放大电路的性能产生影响。温度变化会导致电子元件的参数发生变化,从而引起零点漂移。
为了减小零点漂移,可以采取一些措施。例如,选择质量好的电子元件,降低温度变化对电路的影响,加入温度补偿电路等。此外,定期对放大电路进行校准和调整也可以有效减小零点漂移。
基本放大电路中存在的零点漂移现象是由电子元件的误差和环境因素导致的。了解并解决零点漂移问题对保证放大电路的性能至关重要。

3、直流稳压电路由什么组成
直流稳压电路由什么组成
直流稳压电路是一种用于稳定直流电压输出的电路。它通常由三部分组成:变压器、整流器和滤波器。
首先是变压器。变压器的作用是改变电压的大小,可以将输变器的低电压变换为需要的高电压或者将高电压变换为需要的低电压。在直流稳压电路中,变压器一般被用来将交流电转换为所需的直流电。
其次是整流器。整流器的作用是将交流电转换为直流电。在直流稳压电路中,常用的整流器是二极管整流器。二极管只允许电流单向通过,因此它可以将交流电转换为单向的直流电。整流器可以将交流电的波形变为脉动直流电。
最后是滤波器。滤波器的作用是去除脉动直流电中的波动部分,使得输出的直流电更加稳定。常用的滤波器有电容滤波器和电感滤波器。电容滤波器通过存储能量的方式平滑电路,电感滤波器则通过自感的方式滤除高频信号。
综上所述,直流稳压电路由变压器、整流器和滤波器三部分组成。通过这些元件的协同作用,直流稳压电路可以将输入的交流电转换为稳定的直流电输出,满足各种电子设备对电源电压的要求,确保设备的正常工作。

4、稳压电路的四个组成部分
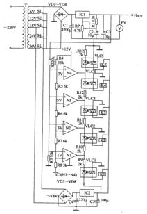
稳压电路是一种常见的电子电路,用于将输入电压稳定在特定的值上。它在许多设备中起到了关键作用,尤其是对于需要稳定电压供应的电子设备来说。稳压电路由四个组成部分构成,下面将分别介绍这四个部分。
首先是电源,它是稳压电路的基础。电源提供了输入电压,通常是交流电。电源和稳压电路之间还会添加一个输入滤波器,用于滤除输入电压中的杂波和干扰信号。
第二个组成部分是参考源。参考源是稳压电路中的参照点,用于与输出电压进行比较。常见的参考源包括稳压二极管、稳压芯片和精密电阻。
第三个组成部分是误差放大器。误差放大器用来比较参考源与输出电压的差异,并将这个差异放大。当输出电压偏离设定值时,误差放大器会产生一个误差信号,通过控制开关管或变阻器的工作状态,来调整输出电压。
最后是输出元件。输出元件通常是一个电容器或电感器,用于将调整后的电压稳定输出到负载上。电容器和电感器能够储存和释放电能,使得输出电压更加稳定。
因此,稳压电路的四个组成部分包括电源、参考源、误差放大器和输出元件。它们共同协作,确保稳压电路能够稳定输出特定的电压,以满足各种电子设备的要求。